Zum Hauptinhalt springen Zur Suche springen Zur Hauptnavigation springen
Rechnungskauf
Top Bewertungen Trustedshop Bewertung Bild
100 Jahre Erfahrung
Über 150.000 Artikel online bestellbar
Hotline 07851 874-23

Yale Krangabel TKG VH Traglast 1,0 t

Produktinformationen "Yale Krangabel TKG VH Traglast 1,0 t"

TIGRIP®-Krangabeln für den Palettentransport Typ 2: Manueller Gewichtsausgleich

Einsatz: Palettentransport mit manuellem oder automatischem Gewichtsausgleich, zum Transport von Ringen und Coils werden die Gabelzinken einfach zusammengeschoben.

  • Entspricht: UVV der Berufsgenossenschaft
  • Gabelverstellbarkeit: einfach für alle Palettengrößen
  • Bruch-Sicherheit: 4-fach
  • Sicherungskette: stabil zur optimalen Ladungssicherung
  • Ketten-Länge: 5 m
  • Wartungsfreiheit: für alle Bauteile
  • Lackierung: Signalfarbe für erhöhte Sicherheit

Für Transport von Gütern über Personen hinweg (z. B. auf Baustellen): geeignete Sicherungs-Maßnahmen gegen Herabfallen von Ladung oder Teilen notwendig.

  • Ausstattung: verstellbare Zinken, Höhenverstellung

Funktionsweise:

  • Gewichtsausgleich: manuell über eine Rasterverstellung der Aufhängeöse
    • Traglast: 1,0 t
    • Gewicht: 130 kg
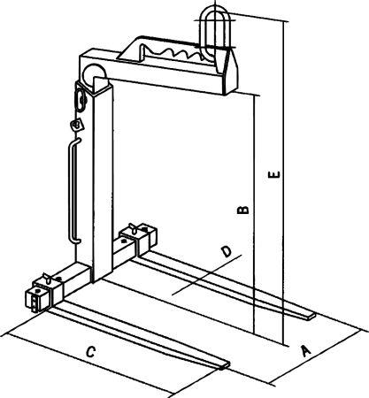
    • Zinkenverstellbereich A: 350–900 mm
    • Nutzhöhe B: 1100–1600 mm
    • Zinkenlänge C: 1000 mm
    • Zinkenquerschnitt D: 100x30 mm
    • Gesamthöhe E: 1390–1890 mm
Hersteller
Marke Yale
Firma Columbus McKinnon Industrial Products GmbH
Adresse Yale-Allee 30
42329 Wuppertal
Kontakt info.wuppertal@cmco.eu
Warnhinweise und Sicherheitsinformationen
Produktgalerie überspringen

Ähnliche Artikel

-16,00%
Produktbild RR Lastarm Typ RLA-1 2400 Traglast 1000kg RAL2004
RR Lastarm Typ RLA-1 2400 Traglast 1000kg RAL2004

Lieferzeit 1-3 Werktage

UVP: 680,68 €* 571,77 €*
-16,00%
Produktbild Yale C-Haken Typ TCK 10,0-1500
Yale C-Haken Typ TCK 10,0-1500

Lieferzeit 1-3 Werktage

UVP: 8.464,47 €* 7.110,15 €*
-13,75%
Produktbild Yale C-Haken Typ TCK 1,0- 800
Yale C-Haken Typ TCK 1,0- 800

Lieferzeit 1-3 Werktage

UVP: 1.508,92 €* 1.301,44 €*
-28,33%
Produktbild Vetter Säulenschwenkkran M 360 1000 kg 4000 mm m. E-Zug
Vetter Säulenschwenkkran M 360 1000 kg 4000 mm m. E-Zug

Lieferzeit 1-3 Werktage

UVP: 12.722,29 €* 9.117,68 €*
-21,62%
Produktbild RR Lastarm Typ RLA 5 2400 Maße 2260 x 580 x 680 mm gelbgrün
RR Lastarm Typ RLA 5 2400 Maße 2260 x 580 x 680 mm gelbgrün

Lieferzeit 1-3 Werktage

UVP: 1.262,59 €* 989,60 €*
-21,60%
Produktbild RR Lastarm RLH 1 bis 1000 kg 25 grad Neigung RAL 6018 gelbgrün
RR Lastarm RLH 1 bis 1000 kg 25 grad Neigung RAL 6018 gelbgrün

Lieferzeit 1-3 Werktage

UVP: 785,40 €* 615,75 €*
-26,16%
Produktbild RR Kranarm RKT5 ausziehbar Last 5000 kg 5 fach verstellbar grün
RR Kranarm RKT5 ausziehbar Last 5000 kg 5 fach verstellbar grün

Lieferzeit 1-3 Werktage

UVP: 2.523,99 €* 1.863,75 €*
-26,18%
Produktbild RR Kranarm RKT 3 ausziehbar 3000 kg 5 fach verstellbar
RR Kranarm RKT 3 ausziehbar 3000 kg 5 fach verstellbar

Lieferzeit 1-3 Werktage

UVP: 2.244,34 €* 1.656,67 €*
-21,62%
Produktbild RR Lastarm Typ RLA1 2400 Maße 2260 x 560 x 610 mm RAL 7016
RR Lastarm Typ RLA1 2400 Maße 2260 x 560 x 610 mm RAL 7016

Lieferzeit 1-3 Werktage

UVP: 729,47 €* 571,77 €*
-21,60%
Produktbild RR Lastarm Typ RLA1 1500 für Kran bis 1000 kg 2220 mm
RR Lastarm Typ RLA1 1500 für Kran bis 1000 kg 2220 mm

Lieferzeit 1-3 Werktage

UVP: 687,23 €* 538,78 €*
-21,62%
Produktbild RR Lastarm Typ RLA 5 2400 bis 5000 kg RAL 7016
RR Lastarm Typ RLA 5 2400 bis 5000 kg RAL 7016

Lieferzeit 1-3 Werktage

UVP: 1.262,59 €* 989,60 €*
-26,17%
Produktbild RR Kranarm RKA3 ausziehbar bis 3000 kg RAL 6018
RR Kranarm RKA3 ausziehbar bis 3000 kg RAL 6018

Lieferzeit 1-3 Werktage

UVP: 1.823,08 €* 1.346,04 €*
-21,61%
Produktbild RR Lastarm Typ RLH T 1 ausziehbar Last 1000 kg RAL 7016
RR Lastarm Typ RLH T 1 ausziehbar Last 1000 kg RAL 7016

Lieferzeit 1-3 Werktage

UVP: 953,79 €* 747,70 €*
-21,58%
Produktbild RR Lastarm Typ RLA 2,5 1500 mit 2220 x 500 x 520 mm anthrazit
RR Lastarm Typ RLA 2,5 1500 mit 2220 x 500 x 520 mm anthrazit

Lieferzeit 1-3 Werktage

UVP: 841,33 €* 659,74 €*

Zuletzt gesehene Artikel